English
学术版
青少年版
首页
关于金沙
参观指南
展览导览
金沙资讯
艺术金沙
典藏珍品
文化活动
金沙会员
志愿者
网上购票
English
学术版
青少年版
首页
关于金沙
参观指南
展览导览
金沙资讯
艺术金沙
典藏珍品
文化活动
金沙会员
志愿者
网上购票
关于金沙
金沙简介
馆长致辞
组织机构
国家考古遗址公园
参观指南
开馆时间
交通信息
服务信息
参观须知
展览导览
基本陈列
特展
巡回展览
金沙资讯
金沙快讯
金沙公告
金沙党建
艺术金沙
文化创作
文创产品
多媒体中心
典藏珍品
金器
玉器
青铜器
陶器
漆木器
石器
文化活动
春节活动
国际文化交流
系列文化活动
我要参与
金沙会员
我的信息
我的活动
我的积分
我的兑换
会员章程
志愿者
个人中心
志愿者活动
志愿者风采
服务之星
网上购票
网上购票
金沙快讯
金沙快讯
金沙公告
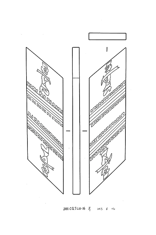
肩扛象牙玉璋 卢引科绘
发布时间:2021-07-09
器身两面分别刻有对称的两组相同的图案,每组图案由一跪坐人像、两道云雷纹、四条平行线纹构成。